Dodge Charger 3 5 Engine Diagram

Dodge Charger 3 5 Engine Diagram

  • Category : Engine Diagram
  • Post Date : January 26, 2026
Dodge Charger 3 5 Engine Diagram 9 out of 10 based on 90 ratings. 40 user reviews.

Dodge Charger 3 5 Engine Diagram

4801823ae

Main Belt Diagram For A Dodge Charger 2006 3 5

2007 Dodge Charger Engine Diagram

68206470ab

2006 Dodge Charger Parts

2006 Chrysler 300 Engine Diagram

Parts Com U00ae

2007 Dodge Charger Parts

Engine Oil Pan Engine Oil Level Indicator And Tube U0026 Related Parts For 2008 Dodge Charger

05182282aa

Parts Com U00ae

4892312ab

Hemi Motor Diagram

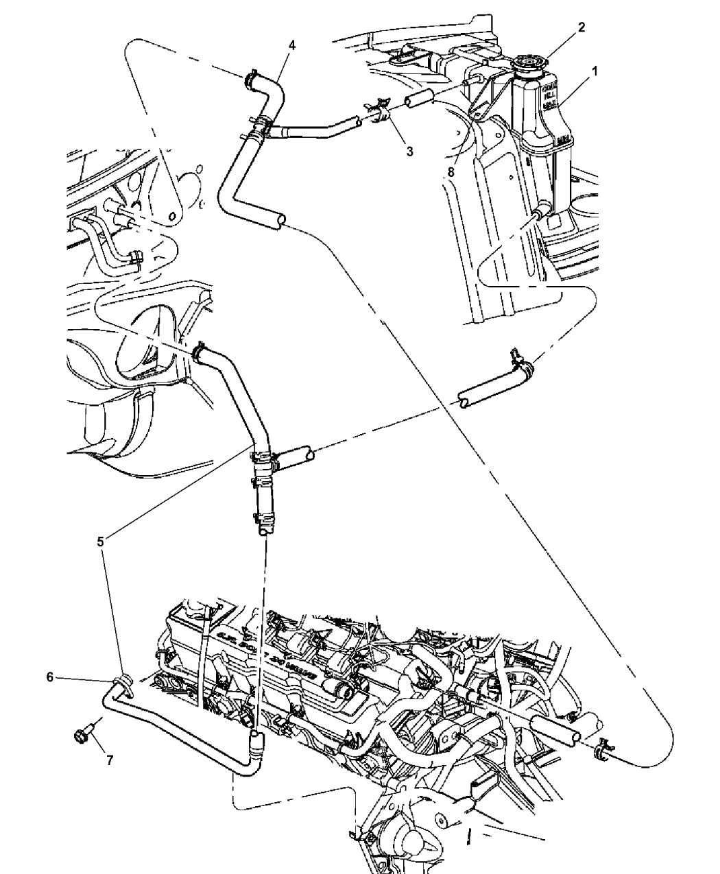
2006 Dodge Charger 3 5 Fuel Filter

Parts Com U00ae

5149009ab

2005 Dodge Magnum Parts

2007 Dodge Charger Parts

Dodge Charger 3 5 Engine Diagram

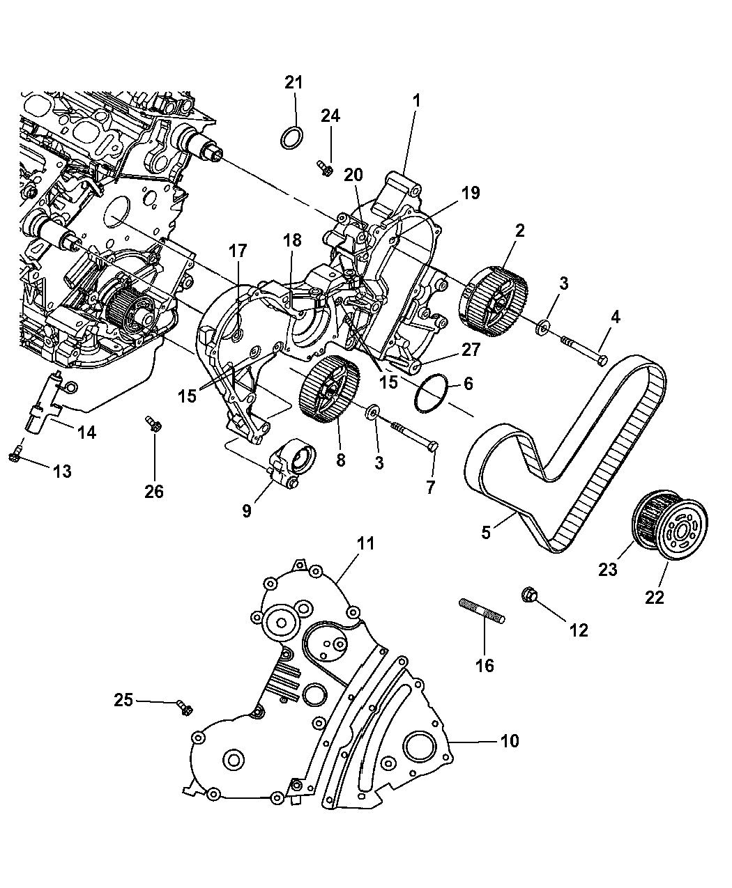
Does The 1999 Chrysler 300m 3 5l Engine Have A Timmimg Belt Or Timming Chain

2007 Dodge Charger 3 5l Mfi Sohc Ho 6cyl

68036664aa

4792924ab

4596755ae

2005 Dodge Magnum Parts

Dodge Charger 5 7 Hemi V8 Engine Diagram U2022 Downloaddescargar Com

Code Hub Org Stage 13 The Farmer 2 5 - Bmwcase

68059370ab

2007 Dodge Charger Sxt Awd Engine Photos

Belt Routing Diagram For 2005 Dodge Charger 2 7 Liter Engi

Diagram 2 7 Liter Chrysler Engine Diagram Full Version Hd Quality Engine Diagram

Chrysler 300 Dodge Charger Challenger 3 5 Engine Thermostat Housing 68148113aa

2006 Dodge Charger 5 7 Hemi Engine Diagram Dodge Wiring Diagram Images

2007 Dodge Charger Sxt Awd 3 5 Liter Sohc 24

2007 Dodge Caliber Engine Diagram

Parts Com U00ae

Fan Belt Diagram For 5 7 Hemi

4896805ac

Engine Wiring Diagram Dodge Charger

Re

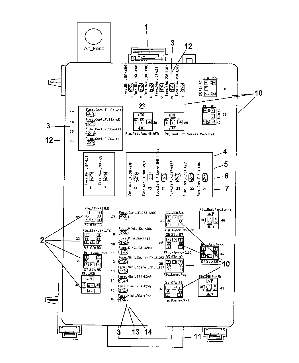
2007 Dodge Charger Fuse Diagram

4124795

Chrysler Dodge 3 5 Liter V6 Engines

2007 Dodge Charger Sxt 3 5 Liter Sohc 24

2007 Dodge Charger Parts

Dodge Charger Crossmember Transmission Mount To Transmission

P2311 Ignition Coil D Secondary Circuit

68083744ab

2006 Dodge Charger 3 5 Fuel Filter

Diagram Dodge Charger 3 5 Engine Diagram

  • Download Dodge Charger 3 5 Engine Diagram

    draw.io is free online diagram software for making flowcharts, process diagrams, org charts, UML, ER and network diagrams

    Open and edit diagrams online with Draw.io, a free diagram software supporting various formats and diagram types.

    Create a new diagram, or open an existing diagram in your new tab. To create a new diagram, enter a Diagram Name and click the location where you want to save the file.

    Easily import diagrams from Lucidchart to diagrams.net or draw.io with this simple tool.

    Create and edit diagrams with draw.io, a free diagramming tool that integrates seamlessly with Office 365.

    Create flowcharts and diagrams online with this easy to use software.

    app.diagrams.net

    Access and integrate Google Drive files with Draw.io using the Google Picker tool for seamless diagram creation.

    Clearing Cached version 29.3.4... OK Update Start App

    7.2 The Software will initiate transfers of data forming part of the Diagrams (“Diagram Data”) to services supplied by third parties when you expressly request conversion of Diagrams: a. to another supported file format; and b. to PDF format.

    3 way switch,3 way switch wiring,3 way switch wiring diagram pdf,3 way wiring diagram,3way switch wiring diagram,4 prong dryer outlet wiring diagram,4 prong trailer wiring diagram,6 way trailer wiring diagram,7 pin trailer wiring diagram with brakes,7 pin wiring diagram,alternator wiring diagram,amp wiring diagram,automotive lighting,cable harness,chevrolet,diagram,dodge,doorbell wiring diagram,ecobee wiring diagram,electric motor,electrical connector,electrical wiring,electrical wiring diagram,ford,fuse,honeywell thermostat wiring diagram,ignition system,kenwood car stereo wiring diagram,light switch wiring diagram,lighting,motor wiring diagram,nest doorbell wiring diagram,nest hello wiring diagram,nest labs,nest thermostat,nest thermostat wiring diagram,phone connector,pin,pioneer wiring diagram,plug wiring diagram,pump,radio,radio wiring diagram,relay,relay wiring diagram,resistor,rj45 wiring diagram,schematic,semi-trailer truck,sensor,seven pin trailer wiring diagram,speaker wiring diagram,starter wiring diagram,stereo wiring diagram,stereophonic sound,strat wiring diagram,switch,switch wiring diagram,telecaster wiring diagram,thermostat wiring,thermostat wiring diagram,trailer brake controller,trailer plug wiring diagram,trailer wiring diagram,user guide,wire,wire diagram,wiring diagram,wiring diagram 3 way switch,wiring harness

    close