618 0229 Mtd Transaxle Diagram

618 0229 Mtd Transaxle Diagram

  • Category : Transaxle Diagram
  • Post Date : January 26, 2026
618 0229 Mtd Transaxle Diagram 9 out of 10 based on 40 ratings. 60 user reviews.

618 0229 Mtd Transaxle Diagram

Mtd Garden King Tiller Parts

Mtd 14ak825h033 1997 Parts Diagram For Transmission

Mtd 13aa662f190 Lt

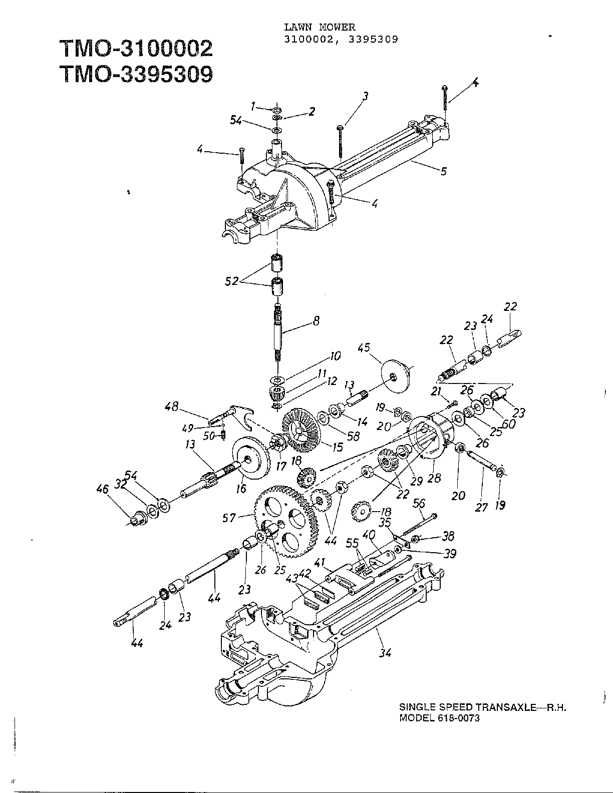
Single Speed Transaxle Right Hand Diagram U0026 Parts List For

Mtd Mtd Lawnflite 136

Mtd Mtd Lawnflite 136

Mtd 136m670g088 Tmo

Mtd 132

Mtd 132

Single Speed Transaxle Diagram U0026 Parts List For Model

Mtd 13an601h729 2006 Parts Diagram For Transmission Assembly

Mtd 13ac560b000 1998 Parts Diagram For Transaxle Assembly

Mtd 13ax795s004 2015 Parts Diagram For Transmission

Mtd 753

Mtd 136

Mtd 143w834h401 1993 Parts Diagram For Transaxle

Mtd 14as820h352 2002 Parts Diagram For Differential U0026 Axle

Mtd 852

Mtd 144q848h062 1994 Parts Diagram For Transaxle

Mtd 130-432-000

Mtd 14ar808k131 2002 Parts Diagram For Transmission

Mtd 132

Mtd 131704f 1991 Parts Diagram For Transaxle

Mtd 13ax90yt001

Mtd 13785

Mtd Mtd Lawnflite 136

Diagram 618 0229 Mtd Transaxle Diagram

  • Download 618 0229 Mtd Transaxle Diagram

    draw.io is free online diagram software for making flowcharts, process diagrams, org charts, UML, ER and network diagrams

    Open and edit diagrams online with Draw.io, a free diagram software supporting various formats and diagram types.

    Create a new diagram, or open an existing diagram in your new tab. To create a new diagram, enter a Diagram Name and click the location where you want to save the file.

    Easily import diagrams from Lucidchart to diagrams.net or draw.io with this simple tool.

    Create and edit diagrams with draw.io, a free diagramming tool that integrates seamlessly with Office 365.

    Create flowcharts and diagrams online with this easy to use software.

    app.diagrams.net

    Access and integrate Google Drive files with Draw.io using the Google Picker tool for seamless diagram creation.

    Clearing Cached version 29.3.4... OK Update Start App

    7.2 The Software will initiate transfers of data forming part of the Diagrams (“Diagram Data”) to services supplied by third parties when you expressly request conversion of Diagrams: a. to another supported file format; and b. to PDF format.

    3 way switch,3 way switch wiring,3 way switch wiring diagram pdf,3 way wiring diagram,3way switch wiring diagram,4 prong dryer outlet wiring diagram,4 prong trailer wiring diagram,6 way trailer wiring diagram,7 pin trailer wiring diagram with brakes,7 pin wiring diagram,alternator wiring diagram,amp wiring diagram,automotive lighting,cable harness,chevrolet,diagram,dodge,doorbell wiring diagram,ecobee wiring diagram,electric motor,electrical connector,electrical wiring,electrical wiring diagram,ford,fuse,honeywell thermostat wiring diagram,ignition system,kenwood car stereo wiring diagram,light switch wiring diagram,lighting,motor wiring diagram,nest doorbell wiring diagram,nest hello wiring diagram,nest labs,nest thermostat,nest thermostat wiring diagram,phone connector,pin,pioneer wiring diagram,plug wiring diagram,pump,radio,radio wiring diagram,relay,relay wiring diagram,resistor,rj45 wiring diagram,schematic,semi-trailer truck,sensor,seven pin trailer wiring diagram,speaker wiring diagram,starter wiring diagram,stereo wiring diagram,stereophonic sound,strat wiring diagram,switch,switch wiring diagram,telecaster wiring diagram,thermostat wiring,thermostat wiring diagram,trailer brake controller,trailer plug wiring diagram,trailer wiring diagram,user guide,wire,wire diagram,wiring diagram,wiring diagram 3 way switch,wiring harness

    close