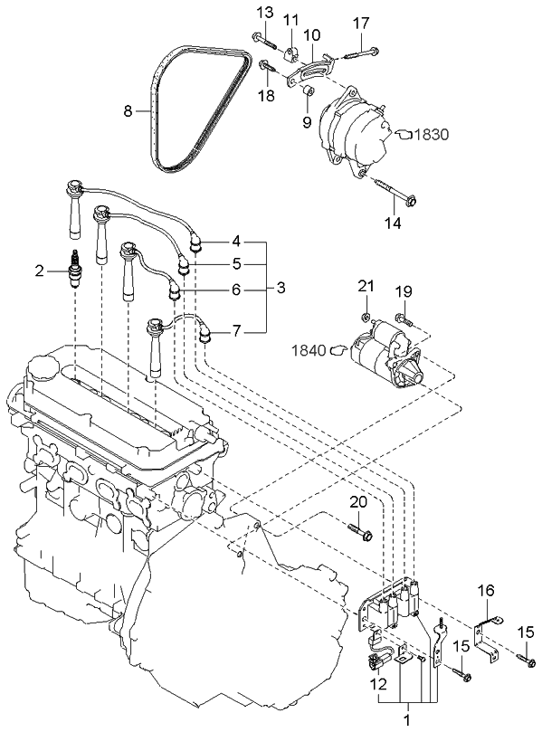
2002 Kia Rio 1 5l Engine Diagram

2002 Kia Rio 1 5l Engine Diagram

  • Category : Engine Diagram
  • Post Date : January 26, 2026
2002 Kia Rio 1 5l Engine Diagram 9 out of 10 based on 10 ratings. 10 user reviews.

2002 Kia Rio 1 5l Engine Diagram

Atk Engines 630 Remanufactured Crate Engine For 2001

Kia Rio Engine 1 6l Vin 5 8th Digit Dohc 03 04 05

Rebuilt 00

Parts Com U00ae

Kia Rio 1 5l Engine

2001 2002 2003 2004 2005 Kia Rio Performance Air Intake

Rebuilt 00

Alternator Regulator Brush Holder For Kia Rio 1 5l 1 6l

Timing Belt Kit U0026water Pump Fits 2003 2004 2005 Kia Rio 1

Fits Hyundai Accent 1 5l 1 6l Kia Rio Rio5 Engine Water

Timing Belt Kit Water Pump Fit 01

What Is The Firing Order For The 2001 Kia Rio

Fits 01

2002 Kia Rio Alternator 1 5l Engine

I Have A 2001 Kia Rio The Check Engine Light Comes On

No Comment Added

How To Line Up The Timing Marks For The 04 Kia Rio

Engine Timing Belt Tensioner Kit 01

2003 2004 2005 2006 Kia Sorento 3 5l Engine 75k Miles

248102x700

Repair Guides

Engine Valve Cover For Kia 2001

Kia Sephia Price Modifications Pictures Moibibiki With

Diagram Of 05 Kia Rio Engine

Kia Carneval 20006 Engine G6ea 2 7 V6 The Problem The

2005 Kia Rio Cts Location I Can U0026 39 T Find A Diagram Or A

1881411062

Repair Guides

I Have A 2007 Kia Rio Lx With The 1 6l Engine However It

0k30a39040a

2435026800

Parts Com U00ae

218101w000

Genuine Engine Valve Cover Fits 01

Cylinder Head Bolts 01

Valve Cover Gasket Fits 2001

Timing Belt Fits 01

2001 Kia Rio 1 5l 4cyl Engine Auntomatic Transmission

Fits 01

Parts Com U00ae

2730126640

2002 Kia Rio Alternator 1 5l Engine

Fits 01

Parts Com U00ae

2015 Kia Rio 2 1 4 Review Review

218411g000

Car Parts For 2007 Kia Rio 1 5 D Ex 1 5l Diesel

Timing Belt Kit Water Pump Valve Cover Fits 01

New Starter For Hyundai Accent Kia Rio 1 5l 1 6l 17826

2001 Kia Rio Clutch Kit 1 5l Engine 52

86610h9100

Cylinder Head Kia Rio 1 5l 16 Valve Dohc K30e 01

Engine Ignition Coil For 00 02 Kia Rio 1 5l 03 05 Rio 1 6l

Cylinder Head Kia Rio 1 5l 16 Valve Dohc K30e 01

Overhaul Engine Rebuild Kit Fit 01

2013 Kia Rio Sx Engine Photo 34

What Is The Head Bolt Tightening Sequence For A The Engine

282153caa0 - Kia Gasket

Diagram 2002 Kia Rio 1 5l Engine Diagram

  • Download 2002 Kia Rio 1 5l Engine Diagram

    draw.io is free online diagram software for making flowcharts, process diagrams, org charts, UML, ER and network diagrams

    Open and edit diagrams online with Draw.io, a free diagram software supporting various formats and diagram types.

    Create a new diagram, or open an existing diagram in your new tab. To create a new diagram, enter a Diagram Name and click the location where you want to save the file.

    Create flowcharts and diagrams online with this easy to use software.

    Create and edit diagrams with draw.io, a free diagramming tool that integrates seamlessly with Office 365.

    app.diagrams.net

    Easily import diagrams from Lucidchart to diagrams.net or draw.io with this simple tool.

    Access and integrate Google Drive files with Draw.io using the Google Picker tool for seamless diagram creation.

    Clearing Cached version 29.3.4... OK Update Start App

    confEmbedUpload=For a better editing experience, please use the regular draw.io macro to insert a blank diagram, then from (File menu → Import From → Device...) select the file you want to upload and embed.

    3 way switch,3 way switch wiring,3 way switch wiring diagram pdf,3 way wiring diagram,3way switch wiring diagram,4 prong dryer outlet wiring diagram,4 prong trailer wiring diagram,6 way trailer wiring diagram,7 pin trailer wiring diagram with brakes,7 pin wiring diagram,alternator wiring diagram,amp wiring diagram,automotive lighting,cable harness,chevrolet,diagram,dodge,doorbell wiring diagram,ecobee wiring diagram,electric motor,electrical connector,electrical wiring,electrical wiring diagram,ford,fuse,honeywell thermostat wiring diagram,ignition system,kenwood car stereo wiring diagram,light switch wiring diagram,lighting,motor wiring diagram,nest doorbell wiring diagram,nest hello wiring diagram,nest labs,nest thermostat,nest thermostat wiring diagram,phone connector,pin,pioneer wiring diagram,plug wiring diagram,pump,radio,radio wiring diagram,relay,relay wiring diagram,resistor,rj45 wiring diagram,schematic,semi-trailer truck,sensor,seven pin trailer wiring diagram,speaker wiring diagram,starter wiring diagram,stereo wiring diagram,stereophonic sound,strat wiring diagram,switch,switch wiring diagram,telecaster wiring diagram,thermostat wiring,thermostat wiring diagram,trailer brake controller,trailer plug wiring diagram,trailer wiring diagram,user guide,wire,wire diagram,wiring diagram,wiring diagram 3 way switch,wiring harness

    close