2002 Infiniti Qx4 Engine Diagram

2002 Infiniti Qx4 Engine Diagram

  • Category : Engine Diagram
  • Post Date : January 26, 2026
2002 Infiniti Qx4 Engine Diagram 9 out of 10 based on 90 ratings. 70 user reviews.

2002 Infiniti Qx4 Engine Diagram

Parts Com U00ae

14912-4w006

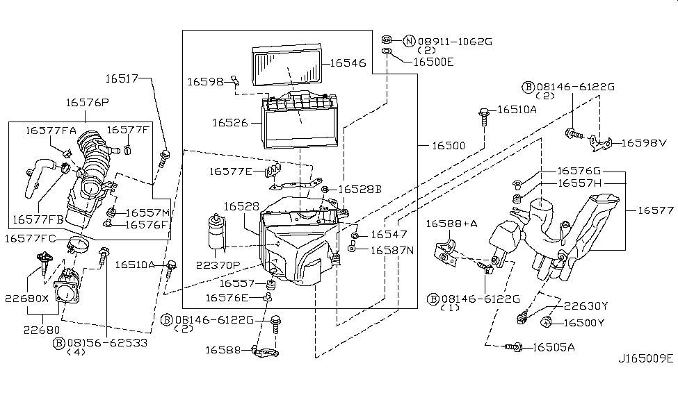
22370

14921

Parts Com U00ae

I Have A 2001 Qx4 The Speedometer Doesn U0026 39 T Work And It Has

56260-2w100

Infiniti Qx4 Engine Diagram Coolant

14036-0w000

Parts Com U00ae

13505

31020-43x78

I Have A 2000 Infinity Qx4 When I Am Driving It Stops

2001 Pathfinder P1130 Swirl Control Valve

24077

1997

22680

92520

I Have A 1997 Infinity Qx4 3 3 Engine I Have A P1447 Code

23731

Parts Com U00ae

Parts Com U00ae

2001 Infiniti I30 Wiring Diagram

14956

Parts Com U00ae

Parts Com U00ae

Parts Com U00ae

Do You Have A Picture Of The Engine Harness Of An Infinity

Last Week My 2002 Infiniti Qx4 Experienced A U0026quot Rough

Infiniti Qx4 Exhaust Diagram From Best Value Auto Parts

How To Replace Engine In A 2001 Infiniti Q

2000 Infiniti Qx4 Standard Qx4 Model Engine Photos

2002 Infiniti Qx4 Burns Oil 1 Complaints

2001 Infiniti Qx4 Standard Qx4 Model 3 5 Liter Dohc 24

2001 Infiniti Qx4 4x4 3 5 Liter Dohc 24

1998 Infiniti Qx4 Oem Parts

76748-1w300

10102

14958-v6700

54034-0w020

F2022-1w325

2001 Infiniti G20 Parts

22690-0w000

2001 Infiniti I30 Wiring Diagram

1999 Infiniti Qx4 Fuse Box Diagram Infiniti Auto Fuse

G Sensor U2013 Circuit Wiring Diagrams

Parts Com U00ae

Parts Com U00ae

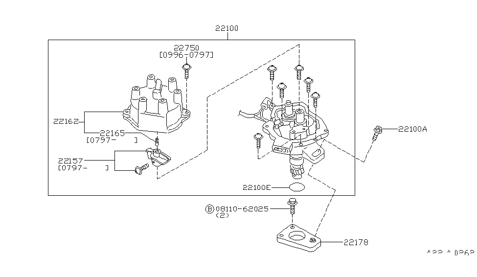
22100

40300

My Car Is An Infiniti I30 1997 And My Problem Is That The

2003 Infiniti Qx4 Service Repair Workshop Manual Download

16440

I Need A Window Wiring Diagram For An Infiniti 2002 Qx4

2001 Infiniti Qx4 Oem Parts

25060

Diagram 2002 Infiniti Qx4 Engine Diagram

  • Download 2002 Infiniti Qx4 Engine Diagram

    draw.io is free online diagram software for making flowcharts, process diagrams, org charts, UML, ER and network diagrams

    Open and edit diagrams online with Draw.io, a free diagram software supporting various formats and diagram types.

    Create a new diagram, or open an existing diagram in your new tab. To create a new diagram, enter a Diagram Name and click the location where you want to save the file.

    Easily import diagrams from Lucidchart to diagrams.net or draw.io with this simple tool.

    Create and edit diagrams with draw.io, a free diagramming tool that integrates seamlessly with Office 365.

    Create flowcharts and diagrams online with this easy to use software.

    app.diagrams.net

    Access and integrate Google Drive files with Draw.io using the Google Picker tool for seamless diagram creation.

    Clearing Cached version 29.3.4... OK Update Start App

    7.2 The Software will initiate transfers of data forming part of the Diagrams (“Diagram Data”) to services supplied by third parties when you expressly request conversion of Diagrams: a. to another supported file format; and b. to PDF format.

    3 way switch,3 way switch wiring,3 way switch wiring diagram pdf,3 way wiring diagram,3way switch wiring diagram,4 prong dryer outlet wiring diagram,4 prong trailer wiring diagram,6 way trailer wiring diagram,7 pin trailer wiring diagram with brakes,7 pin wiring diagram,alternator wiring diagram,amp wiring diagram,automotive lighting,cable harness,chevrolet,diagram,dodge,doorbell wiring diagram,ecobee wiring diagram,electric motor,electrical connector,electrical wiring,electrical wiring diagram,ford,fuse,honeywell thermostat wiring diagram,ignition system,kenwood car stereo wiring diagram,light switch wiring diagram,lighting,motor wiring diagram,nest doorbell wiring diagram,nest hello wiring diagram,nest labs,nest thermostat,nest thermostat wiring diagram,phone connector,pin,pioneer wiring diagram,plug wiring diagram,pump,radio,radio wiring diagram,relay,relay wiring diagram,resistor,rj45 wiring diagram,schematic,semi-trailer truck,sensor,seven pin trailer wiring diagram,speaker wiring diagram,starter wiring diagram,stereo wiring diagram,stereophonic sound,strat wiring diagram,switch,switch wiring diagram,telecaster wiring diagram,thermostat wiring,thermostat wiring diagram,trailer brake controller,trailer plug wiring diagram,trailer wiring diagram,user guide,wire,wire diagram,wiring diagram,wiring diagram 3 way switch,wiring harness

    close