1999 Plymouth Voyager Brake Light Diagrams

1999 Plymouth Voyager Brake Light Diagrams

  • Category : Light Diagrams
  • Post Date : January 27, 2026
1999 Plymouth Voyager Brake Light Diagrams 9 out of 10 based on 80 ratings. 90 user reviews.

1999 Plymouth Voyager Brake Light Diagrams

Need Wireing Diagram For 94 Plymouth Voyager Tail Light Assembly Left And Right Side

Where Can I Get A Wiring Diagram For A Chrysler Voyager 2001 Rear Brake Lights

1992 Plymouth Voyager Gauges And Speedometer Are Inoperative U0026quot Check Gauges U0026quot Light Is On Fuses

Dash Light Wireing For 1999 Plymouth Voyager

Plymouth Turn Signal

My Brake Lights Reversing Other Rear Lights I Checked Out The Fuses

97 Plymouth Voyager Wiring Diagram

Plymouth Voyager 1992 Interior Light Wiring Diagram

Plymouth U2013 Circuit Wiring Diagrams

Wiring Diagram For 1995 Plymouth Voyager

1994 Plymouth Voyager 3 3l V6 Brake Power Booster Has A Vacuum Hoses Tree On It

Wiring Diagram For 1995 Plymouth Voyager

Chrysler Grand Voyager Pdf Manual

Why Is There No Fuel Pressure After Replacing Pump

I Need The Wiring Diagram For A 1997 Plymouth Grand Voyager Se With A 3 0 Motor The Wiring

I Have A 1998 Plymouth Grand Voyager 3 3 L And The Rear Wiper Does Not Work Continuous Or

Howtorepairguide Com How To Replace Headlight Switch On Dodge Caravan

Solved Brake Lights Staying On

Where Can I Find A Fuse Box Diagram For A 1991 Plymouth Acclaim I Don U0026 39 T Have The Owner U0026 39 S Manual

1994 Plymouth Voyager 3 3l V6 Brake Power Booster Has A Vacuum Hoses Tree On It

Voyager Wiring Diagram My 1995 Dash Light Went Turn Signal

Where Is The Fuse Box Located On A 1999 Plymouth Voyager

Solved 1999 Plymouth Grand Voyager Abs

Plymouth Voyager Ls 1999 Terminal Fuse Box Block Circuit Breaker Diagram U00bb Carfusebox

1998 Plymouth Voyager Lever Park Brake Dgl With Auto Trans

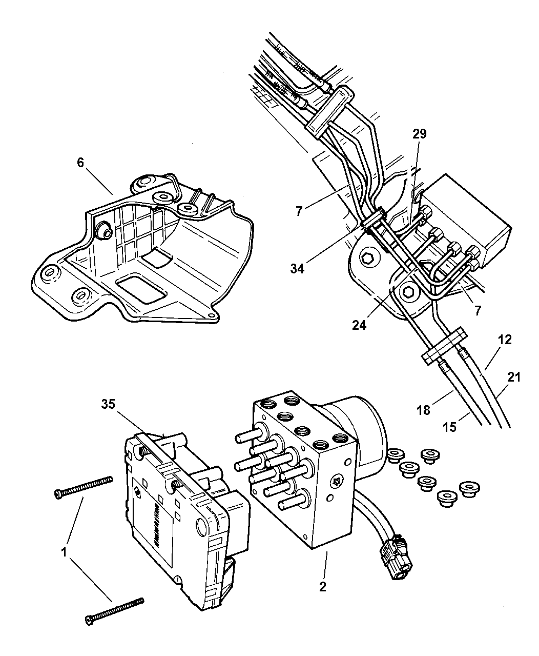
Plymouth Voyager Clip Tube Mounting Right Front Right Front Brake Tube

4683696

Will Not Shift Out Of Park

Mopar Parts

1999 Plymouth Grand Voyager Parts

Mopar Parts

4797614

1998

Dodge Caravan Plymouth Voyager Rh Tail Light 84 85 86 U2013 Nostalgic Parts

Centric U00ae

04882515

Dash Light Wireing For 1999 Plymouth Voyager

1989 Plymouth Acclaim No Brake Lights Cars Been Stored For 4 Yrs

10 Best Dodge Grand Caravan 1996 Infodata Images On Pinterest

I Want To Know Where I Put Each Lines Of Breack In Block Abs Under The Vehicule I Forgot To

Compare Price Rear Brake Light Assembly

87 88 89 90 Dodge Caravan Plymouth Voyager Left Drivers Side Tail Light Oem

1991 Plymouth Voyager Fuse Relay I Need To Know Layout Of The

1997 Plymouth Voyager Will Not Start No Interior Power To Lights No Ignition Interior Did

Vn800 Wiring Diagram

I Have A 1998 Plymouth Voyager The Service Engine Soon Light Is On And The Code Is P1698 Which

Plymouth Voyager 1996 2000 Parts Manual By Justingrover

96 Grand Voyager 3 3l

1994 Plymouth Grand Voyager Parts

Repair Guides

I Have A 2000 Plymouth Voyager 3 0 Liter Engine My Neighborhood Mechanic Has Been Trying To

Simple Wiring Diagram For A 1997 Plymouth Voyager Repair Guides

2001 Tail Lights Chryslertown U0026 Counrty Dodge Caravan Plymouth Voyager For Sale In Brighton

1998 1999 2000 Plymouth Voyager Turn Signal Switch

Dodge Ram 1500 Junction Block Brake Tube Frt Brake Tubes To Body W O Abs

Where Can I Get A Wiring Diagram For A Chrysler Voyager 2001 Rear Brake Lights

96 Plymouth Voyager Wiring Diagram

Diagram 1999 Plymouth Voyager Brake Light Diagrams

  • Download 1999 Plymouth Voyager Brake Light Diagrams

    draw.io is free online diagram software for making flowcharts, process diagrams, org charts, UML, ER and network diagrams

    Open and edit diagrams online with Draw.io, a free diagram software supporting various formats and diagram types.

    Create a new diagram, or open an existing diagram in your new tab. To create a new diagram, enter a Diagram Name and click the location where you want to save the file.

    Create flowcharts and diagrams online with this easy to use software.

    Create and edit diagrams with draw.io, a free diagramming tool that integrates seamlessly with Office 365.

    Easily import diagrams from Lucidchart to diagrams.net or draw.io with this simple tool.

    Access and integrate Google Drive files with Draw.io using the Google Picker tool for seamless diagram creation.

    Clearing Cached version 29.3.4... OK Update Start App

    confEmbedUpload=For a better editing experience, please use the regular draw.io macro to insert a blank diagram, then from (File menu → Import From → Device...) select the file you want to upload and embed.

    If you enter personal information into a diagram and perform an action that requires us to send that diagram to a server for processing, your personal data may be processed on that server, but never stored.

    3 way switch,3 way switch wiring,3 way switch wiring diagram pdf,3 way wiring diagram,3way switch wiring diagram,4 prong dryer outlet wiring diagram,4 prong trailer wiring diagram,6 way trailer wiring diagram,7 pin trailer wiring diagram with brakes,7 pin wiring diagram,alternator wiring diagram,amp wiring diagram,automotive lighting,cable harness,chevrolet,diagram,dodge,doorbell wiring diagram,ecobee wiring diagram,electric motor,electrical connector,electrical wiring,electrical wiring diagram,ford,fuse,honeywell thermostat wiring diagram,ignition system,kenwood car stereo wiring diagram,light switch wiring diagram,lighting,motor wiring diagram,nest doorbell wiring diagram,nest hello wiring diagram,nest labs,nest thermostat,nest thermostat wiring diagram,phone connector,pin,pioneer wiring diagram,plug wiring diagram,pump,radio,radio wiring diagram,relay,relay wiring diagram,resistor,rj45 wiring diagram,schematic,semi-trailer truck,sensor,seven pin trailer wiring diagram,speaker wiring diagram,starter wiring diagram,stereo wiring diagram,stereophonic sound,strat wiring diagram,switch,switch wiring diagram,telecaster wiring diagram,thermostat wiring,thermostat wiring diagram,trailer brake controller,trailer plug wiring diagram,trailer wiring diagram,user guide,wire,wire diagram,wiring diagram,wiring diagram 3 way switch,wiring harness

    close