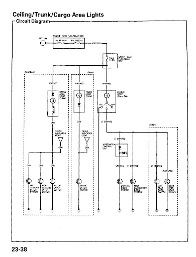
1991 Honda Accord Dome Light Wiring Diagrams

1991 Honda Accord Dome Light Wiring Diagrams

  • Category : Wiring Diagrams
  • Post Date : January 27, 2026
1991 Honda Accord Dome Light Wiring Diagrams 9 out of 10 based on 30 ratings. 100 user reviews.

1991 Honda Accord Dome Light Wiring Diagrams

Fix My 93 Honda Accord Cigarette Lighter Dome Light Does

Where To Find Wire For Interior Dome Lights

Honda Accord How To Replace Dome Light

1998 Civic Dome Light Assembly Test - How To

Vigor Map Light Wiring Diagram- Desperate

Repair Guides

1998 Civic Dome Light Assembly Test - How To

Vigor Map Light Wiring Diagram- Desperate

1997 Acura Integra Ke Light Switch Wiring

1985 Gmc Truck Wiring Diagram Gmc Wiring Diagram Images

1993 Accord Lx - Integrated Control Unit

1995 Chevy Ck1500 Dome Light Wont Turn On

I Have A 1991 Integra Ls Fuse 14 Keeps Blowing The Seat

2001 Honda Accord Tail Lights Wiring Diagram

Wiring Diagram For Honda Accord 2000 Ex Brake Lights

I Have A 2000 Honda Crv The Tail Lights And Interior

93 Civic Hatch

Where Is The Dash Tail Light Relay On A 1996 Honda Accord

Repair

96 Honda Accord Interior Lights

99 Civic Dx Hatchback - Alarm Install

2003 Honda Accord Has Both Rear Brake Lights Out 3rd

I Need The Wiring Diagram For A 1996 Honda Accord Lx 2 2l

2000 Accord Ex And The Center Dome Light Will Not Come On

Oem Homelink Install

96 97 98 99 00 Honda Civic Coupe Sunroof U0026 Dome Light

Convert Map Lights To Function With Dome Light

2007 Honda Odyssey Interior Lights Not Working

Tutorial Map Light On With Dome Light Mod

2005 Honda Crv Interior Light Fuse

2010 Honda Accord Interior Light Fuse

98-00 Oem Fog Lamps - Page 2

Diy Guide Wiring Lights Along W The Dome Light

2005 Honda Crv Interior Light Fuse

91 Honda Accord No Tail Lights Dash Lights Yellow

Honda Odyssey Led Kit Installation U2013 Putco Led Dome Kit

Repair Guides

2005 Honda Accord Map Light Circuit Diagram 43 Wiring

2005 Honda Crv Interior Light Fuse

Which Wires To Tap For Parking Light And Dome Light

2001 Honda Accord Tail Lights Wiring Diagram

2016 Honda Odyssey Alternator Wiring Diagram 92 Honda

2007 Honda Fit Dome Light Replacement

Honda Crv Dash Light Fuse

2010 Honda Accord Interior Light Fuse

G

96 97 98 99 00 Honda Civic Coupe Sunroof U0026 Dome Light

Honda Accord Se 1990 Wiring Diagrams Sch Service Manual

2005 Honda Crv Interior Light Fuse

Accord 1991 Lx Brake Lamp Warning Light On Dash On

Need Wiring Diagram For An 03 Honda Accord Ex V6 4 Door

Diagram 1991 Honda Accord Dome Light Wiring Diagrams

  • Download 1991 Honda Accord Dome Light Wiring Diagrams

    draw.io is free online diagram software for making flowcharts, process diagrams, org charts, UML, ER and network diagrams

    Open and edit diagrams online with Draw.io, a free diagram software supporting various formats and diagram types.

    Create a new diagram, or open an existing diagram in your new tab. To create a new diagram, enter a Diagram Name and click the location where you want to save the file.

    Create flowcharts and diagrams online with this easy to use software.

    Create and edit diagrams with draw.io, a free diagramming tool that integrates seamlessly with Office 365.

    Easily import diagrams from Lucidchart to diagrams.net or draw.io with this simple tool.

    Access and integrate Google Drive files with Draw.io using the Google Picker tool for seamless diagram creation.

    Clearing Cached version 29.3.4... OK Update Start App

    confEmbedUpload=For a better editing experience, please use the regular draw.io macro to insert a blank diagram, then from (File menu → Import From → Device...) select the file you want to upload and embed.

    If you enter personal information into a diagram and perform an action that requires us to send that diagram to a server for processing, your personal data may be processed on that server, but never stored.

    3 way switch,3 way switch wiring,3 way switch wiring diagram pdf,3 way wiring diagram,3way switch wiring diagram,4 prong dryer outlet wiring diagram,4 prong trailer wiring diagram,6 way trailer wiring diagram,7 pin trailer wiring diagram with brakes,7 pin wiring diagram,alternator wiring diagram,amp wiring diagram,automotive lighting,cable harness,chevrolet,diagram,dodge,doorbell wiring diagram,ecobee wiring diagram,electric motor,electrical connector,electrical wiring,electrical wiring diagram,ford,fuse,honeywell thermostat wiring diagram,ignition system,kenwood car stereo wiring diagram,light switch wiring diagram,lighting,motor wiring diagram,nest doorbell wiring diagram,nest hello wiring diagram,nest labs,nest thermostat,nest thermostat wiring diagram,phone connector,pin,pioneer wiring diagram,plug wiring diagram,pump,radio,radio wiring diagram,relay,relay wiring diagram,resistor,rj45 wiring diagram,schematic,semi-trailer truck,sensor,seven pin trailer wiring diagram,speaker wiring diagram,starter wiring diagram,stereo wiring diagram,stereophonic sound,strat wiring diagram,switch,switch wiring diagram,telecaster wiring diagram,thermostat wiring,thermostat wiring diagram,trailer brake controller,trailer plug wiring diagram,trailer wiring diagram,user guide,wire,wire diagram,wiring diagram,wiring diagram 3 way switch,wiring harness

    close